Die M-Klasse in der Karosserievariante W164 wurde erstmals Anfang 2005 auf der Detroit Motor Show vorgestellt. Sie teilte sich die technische Basis mit der R-Klasse (W251) und der Mercedes-Benz GL-Klasse. Die beim Vorgängermodell verwendete Rahmenstruktur wurde durch eine tragende Karosserie ersetzt, was zu einer verbesserten passiven Sicherheit führte, aber die Geländegängigkeit des Fahrzeugs einschränkte. In diesem Artikel werden wir einen detaillierten Blick auf die Belegung der Sicherungen und Relais im Mercedes M-Klasse W164 (zweite Generation; Bezeichnungen: ML350, ML500, ML550, ML620). Baujahre: 2005, 2006, 2007, 2008, 2009, 2010, 2011.

Hier finden Sie die Positionen, Beschreibungen und Fotos der Sicherungskästen. „Zigarettenanzünder“ und „Kraftstoffpumpe“ sind fett hervorgehoben.
Im Kofferraum

Der Sicherungskasten im Kofferraum befindet sich hinter der Verkleidung auf der linken Seite.

Das Foto ist ein Beispiel.
Belegungsplan
Modelle bis Mai 2006

Nr. | Beschreibung | Ampere
F20. | Antennensignalverstärker | 5A
F21. | Klimagerät hinten | 5A
F22. | 5A
F23. | 10A
F24. | SRS-System | 40A
F25. | Navigationssystem | 15A
F26. | 25A
F27. | 30A
F28. | 30A
F29. | SRS | 40A
F30. | 40A
F31. | Lenkradheizung | 10A
F32. | Fahrwerksregelung | 15A
F33. | Schlüsselloses Zugangs- und Startsystem (schlüsselloses Zugangs- und Startsystem) | 25A
F34. | 25A
F35. | Verstärker der Audioanlage | 30A
F36. | Telematiksystem | 10A
F37. | Rückfahrkamera | 5A
F38. | TV-Tuner | 10A
F39. | Reifendruckkontrollsystem | 7,5A
F40. | Hecktürschließsystem | 40A
F41. | Innenbeleuchtung | 25A
F42. | Schiebedach | 25A
F43. | Heckscheibenwischer/-wascher | 20A
F44. | 20A
F45. | 20A
F46. | Zigarettenanzünder-Sicherung Mercedes w164 - ML350, ML500, ML550, ML62 | 15A
F49. | Heckscheibenheizung | 30A
F50. | Heckscheibenwischer/-wascher | 10A
F51. | Schalter (Kraftstoffdampfspeicher) | 5A
F52. | SRS-System | 5A
F53. | 5A
F54. | 5A
F55. | 7,5A
F56. | Diagnosestecker (DLC) | 5A
F57. | Benzinpumpe (Kraftstoffmodul) | 20A
F58. | 7,5A
F59. | Leer
F60. | 5A
F61. | SRS-System | 10A
F62. | 30A
F63. | 30A
F67. | Zusatzgebläse für Klimaanlage/Heizung | 25A
F68. | 25A
F70. | Elektrischer Anschluss für Anhänger | 15A / 20A
F71. | Elektrischer Anschluss für Anhänger | 30A
F72. | Elektrischer Anschluss für Anhänger | 15A
1. | Leer
2. | Leer
3. | Leer
4. | Benzinpumpe (Kraftstoffmodul)
5. | Heckscheibenwischermotor-Relais
6. | Leer
7. | Leer
8. | Stromversorgung des Anhängersteckers
9. | Heckscheibenheizung
Modelle nach Juni 2006

Nr. | Beschreibung | Ampere
F20. | Antennensignalverstärker | 5A
F21. | Klimagerät hinten | 5A
F22. | 5A
F23. | 10A
F24. | SRS-System | 40A
F25. | Navigationssystem | 15A
F26. | Elektrische Steuerzentrale der rechten Vordertür | 25A
F27. | 30A
F28. | 30A
F29. | SRS | 40A
F30. | 40A
F31. | Beheiztes Lenkrad | 10A
F32. | Fahrwerksregelung | 5A
F33. | Fernbedienung für schlüsselloses Zugangs- und Startsystem | 25A
F34. | Elektrisches Steuergerät der linken Vordertür | 25A
F35. | Verstärker der Audioanlage | 30A
F36. | Telematiksystem | 10A
F37. | Rückfahrkamera | 5A
F38. | TV-Tuner | 10A
F39. | Reifendruckkontrollsystem | 7,5A
F40. | Hecktürschließsystem | 40A
F41. | Innenbeleuchtung | 25A
F42. | Schiebedach | 25A
F43. | Leer
F44. | Leer
F45. | Sicherungskasten/Relais im Kofferraum | 20A
F46. | Zigarettenanzünder-Sicherung w164 - ML350, ML500, ML550, ML620 | 15A
F47. | Leer
F48. | Leer
F49. | Heckscheibenheizung | 30A
F50. | Heckscheibenwischer/-wascher | 15A
F51. | Schalter (Kraftstoffdampfspeicher) | 5A
F52. | SRS-System | 5A
F53. | 5A
F54. | Scheinwerferkorrektor | 5A
F55. | 7.5A
F56. | Leer
F57. | Kraftstoffmodul (Benzinpumpe) | 20A
F58. | 7,5A
F59. | Leer
F60. | 5A
F61. | SRS-System | 10A
F62. | 30A
F63. | 30A
F64-F66. | Leer
F67. | Gebläse der Zusatzklimaanlage/Heizung | 25A
F68. | 25A
F69. | Leer
F70. | Elektrischer Anschluss für Anhänger | 15A / 20A
F71. | Elektrischer Anschluss für Anhänger | 30A
F72. | Elektrischer Anschluss für Anhänger | 15A
1. | Stromzufuhr zum elektrischen Anschluss des Anhängers
2. | Leer
3. | Relais für elektrischen Sitzantrieb
4. | Relais für Zündungshilfsstromkreise
5. | Relais für Kraftstoffmodul (Benzinpumpe)
6. | Relais für Heckscheibenwischermotor
7. | Leer
8. | Heckscheibenheizung
9. | Leer
10. | Stromanschlussrelais der Zusatzausrüstung
11. | Stromanschluss für die elektrische Ausrüstung des Anhängers
Im Innenraum
Hier gibt es zwei Einheiten, die für den Schutz der Stromkreise des Fahrzeugs zuständig sind.
Sicherungskasten Nr. 1

Befindet sich am rechten Ende der Instrumententafel.
Belegungsplan

Nr. | Beschreibung | Ampere
F10. | Zusatzgebläse für Klimaanlage/Heizung | 10A
F11. | Kombiinstrument | 5A
F12. | Klimagerät | 15A
F13. | Elektrisches Steuergerät der Lenksäule | 5A
F14. | 7,5A
F15. | Kompass | 5A
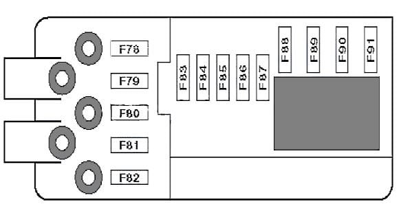
Sicherungskasten Nr. 2
Befindet sich unter dem Beifahrersitz.
Belegungsplan

Nr. | Beschreibung | Ampere
F78. | Zuheizer | 150A
F79. | 60A
F80. | 60A
F81. | Leer
F82. | Sicherungs-/Relaiskasten im Kofferraum | 150A
F83. | Steuergerät Sitzbelegungserkennung | 5A
F84. | SRS-Elektronikeinheit | 10A
F85. | Getriebe | 30A
F86. | Sicherungskasten im Armaturenbrett | 30A
F87. | Verteilergetriebe-Steuergerät | 30A
F88. | 70A
F89. | 70A
F90. | 70A
F91. | Gebläse der Klimaanlage/Heizung | 40A
Im Motorraum

Der Verteilerblock F58 befindet sich im linken Teil des Raums unter der Motorhaube, hinter der Schutzabdeckung.

Foto - Gesamtansicht.
Belegungsplan

Nr. | Sicherungsbelegung | Ampere
F100. | Scheibenwischer/Scheibenwascher | 30A
F101. | Reserve | 15A
F102. | Reserve | 15A
F103. | Motorsteuergerät | 25A
F104. | 15A
F105. | 15A
F106. | Leer
F107. | Abgasluftpumpe | 40A
F108. | Kompressor des aktiven Federungssystems | 40A
F109. | Elektronisches Stabilitätsprogramm (ESP) | 25A
F110. | Sirene der Diebstahlwarnanlage | 10A
F111. | Getriebe | 30A
F112. | Scheinwerfer | 7,5A
F113. | Akustische Signale | 15A
F114. | Leer
F115. | Elektronisches Stabilitätsprogramm (ESP) | 5A
F116. | Getriebe | 7,5A
F117. | Abstandsregeltempomat (Tempomat) | 7,5A
F118. | Elektronisches Motorsteuergerät | 5A
F119. | Leer
F120. | Elektronisches Motorsteuergerät | 10A
F121. | Leer
Nr. | Relaisbelegung
1. | Leer
2. | Leer
3. | Benzin: Kühlmittelpumpe
4. | Motormanagementsystem
5. | Abluftpumpe
6. | Hupe
7. | Aktiver Federungskompressor
8. | Leer
9. | Anlasser
Alle elektrischen Geräte

Allgemeine Anordnung der elektronischen Module im Fahrzeug.
1. | ABS-Elektronikeinheit;
2. | Klimaanlagen-/Heizungssteuergerät im Klimaanlagen-/Heizungsbedienfeld;
3. | Widerstand des Gebläsemotors der Heizung/Klimaanlage - neben dem Gebläsemotor;
4. | Sonnenlichtsensor (Klimaanlage)/Regensensor (Scheibenwischer)- oberer mittlerer Teil der Windschutzscheibe;
5. | Antennensignalverstärker - (Hintertür);
6. | SRS-Aufprallsensor, Fahrerseite;
7. | SRS-Aufprallsensor, Beifahrerseite;
8. | Seitenaufprallsensor, Fahrerseite - oben an der mittleren Säule;
9. | Seitenaufprallsensor, Beifahrerseite - oben an der Mittelsäule;
10. | Sirene des Diebstahlschutzsystems;
11. | Audio-System-Ausgangsverstärker - unter dem Sitz;
12. | Steuergerät der Zusatzheizung - hinter dem Radkasten;
13. | Steuergerät der Zusatzheizung - unter dem linken Rücksitz;
14. | Batteriepaket - unter dem Sitz;
15. | Abstandsregeltempomat (Tempomat);
16. | CAN-Datenbus, Gateway-Steuergerät;
17. | Diagnosestecker (DLC);
18. | Steuergerät für die Differentialsperre - unter den hohlen Gepäckfächern;
19. | Elektrisches Steuergerät der Fahrertür - in der Tür;
20. | Elektrisches Steuergerät der Beifahrertür - in der Tür;
21. | Elektronisches Motorsteuergerät, V8 - vorne im Fußraum;
22. | Elektronisches Motorsteuergerät, V6 - oberer Motorbereich;
23. | Elektronisches Motorsteuergerät, Diesel - hinter dem Radkasten;
24. | Kühlerlüftermotor-Steuergerät - im Kühlerlüftermotor;
25. | Steuergerät der Kraftstoffpumpe, links. - unter dem Rücksitz;
26. | Steuergerät für Kraftstoffpumpe, rechts. - unter dem Rücksitz;
27, 28. | Sicherungen/Relaiskästen, im Motorraum;
29. | Sicherungs-/Relaiskasten, in der Instrumententafel im Fahrgastraum;
30. | Sicherungs-/Relaiskasten, Kofferraum - hinter der rechten hinteren Verkleidung;
31. | Sicherungskasten/Relaiskasten, unter dem Beifahrersitz;
32. | Scheinwerfersteuergerät, linke Seite. (Xenon-Scheinwerfer);
33. | Scheinwerfer-Steuergerät, rechts. (Xenon-Scheinwerfer);
34. | Steuergerät des Scheinwerfer-Einstellgeräts - unter dem Sitz;
35. | Hupe, links;
36. | Hupe, rechts;
37. | Steuergerät für den Zündschalter;
38. | Einheit Kombiinstrument;
39. | Steuergerät für schlüsselloses Zugangssystem - rechte Seite des Gepäckraums;
40. | Multifunktionssteuergerät 1 - Fußraum - Funktionen: Zentralverriegelung, elektrische Fensterheber, Nebelscheinwerfer, Scheinwerfer, Fernlicht, Sitzheizung, Scheibenwaschdüsenheizung, Scheinwerferwaschanlage, akustische Signale, Blinker, vordere Blinkleuchten, vordere Blinkleuchten, Scheibenwischer/Scheibenwaschanlage;
41. | Multifunktions-Steuergerät 2-in-Sicherungskasten/Relais Kofferraum-Funktionen: Diebstahlsicherung, Zentralverriegelung (hinten), Heckscheibenheizung, Heckscheibenwischer/-wascher, Scheinwerfer (hinten), Blinker (hinten), Relais für elektrischen Sitz (Beifahrer), Bremslicht, Heckklappensteuergerät, elektrischer Anschluss für Anhänger;
42. | Multifunktionssteuergerät 3 im Multifunktionsschalter (Dachkonsole) - Funktionen: Diebstahlsicherung, Fernbedienung für das Garagentor, Innenbeleuchtung, Schiebedach, Regensensor (Scheibenwischer);
43. | Steuergerät für die Navigation;
44. | Steuergerät für das Parksystem unter den Sitzen;
45. | Steuergerät für das Klappsystem der Rücksitze - unter dem linken Rücksitz;
46. | Steuergerät der Rückfahrkamera - unter dem Sitz;
47. | Steuergerät des elektrischen Fahrersitzes - unter dem Sitz;
48. | Steuergerät für den elektrischen Beifahrersitz - unter dem Sitz;
49. | Steuergerät der Sitzheizung - unter dem rechten Rücksitz;
50. | Steuergerät für das Beifahrersitzbelegungserkennungssystem - unter dem Sitz;
51. | Elektrisches Steuergerät der Lenksäule - unter dem Lenkrad;
52. | Steuergerät für das elektrische Schiebedach;
53. | SRS-Elektronikeinheit;
54. | Steuergerät für die Aufhängung;
55. | Elektrisches Steuergerät der Hintertüren - unter den Hohlräumen des Gepäckraums;
56. | Telefonsteuergerät - unter dem linken Rücksitz;
57. | Steuergerät für das Verteilergetriebe;
58. | Elektronisches Getriebesteuergerät - im Getriebe;
59. | Elektronisches Getriebesteuergerät (DSG-Getriebe) - am Getriebe;
60. | Steuergerät für das Reifendruckkontrollsystem - am Sicherungs-/Relaiskasten im Gepäckraum;
61. | Steuergerät für das Sprachbedienungssystem - unter dem linken Rücksitz;
62. | Seitlicher Bewegungssensor.
Videoanleitung für den Zugang.
